Hanwha Vision TNO-C3012TRA
QVGA 放射測定 AI サーマルカメラ
ボックスカメラについて、ブログでも詳しく紹介しております。
ボックス型カメラ(バレット型カメラ)とは?メリットや設置のコツ!
サーマルカメラについて、ブログでも詳しく紹介しております。
サーマルカメラについて
概要
- AIベースの物体分類(人物、車両)
- 高性能検出器の適用(17μm、NETD 30mK)
- 広角(FoV 90°)のQVGA解像度(384×288)
- 広い温度監視範囲:-40°~550°C(-40°F~1,022°F)
- 小型軽量カメラ(Φ147 * 233.5mm、1.7KG)で簡単かつシンプルな設置
- すべての解像度(H.265/H.264/MJPEG)で最大8fps
特長
AI搭載サーマルカメラが精度と効率を向上
TシリーズのAI搭載放射温度計カメラは、AIを活用した物体検出機能を備えており、困難な状況下でも人物と車両を正確に識別できます。これにより、霧や煙といった過酷な状況下でも人物を検知・識別し、事故を効果的に防止できます。
広い温度検出範囲
ハンファビジョンの放射型サーマルカメラは、-40℃~550℃の温度範囲を検知し、多様な産業用途に最適です。産業機器や材料を効果的に監視し、安全な操業を確保します。経年劣化や接続不良による温度変化を検知することで、オペレーターは潜在的な問題に迅速に対処でき、メンテナンス効率の向上とダウンタイムの削減を実現します。
商用利用のためのより柔軟なオプション
30fpsのフレームレートを持つ製品向けに特別に設計されたサーマルカメラはワッセナー協定の対象となり、輸出入にはセキュリティ目的であっても様々な許可が必要となります。商業利用のためのより柔軟な選択肢を提供します。ハンファビジョンの AI ベースの放射測定サーマル カメラには、30fps と 8fps の 2 つのバージョンがあります。

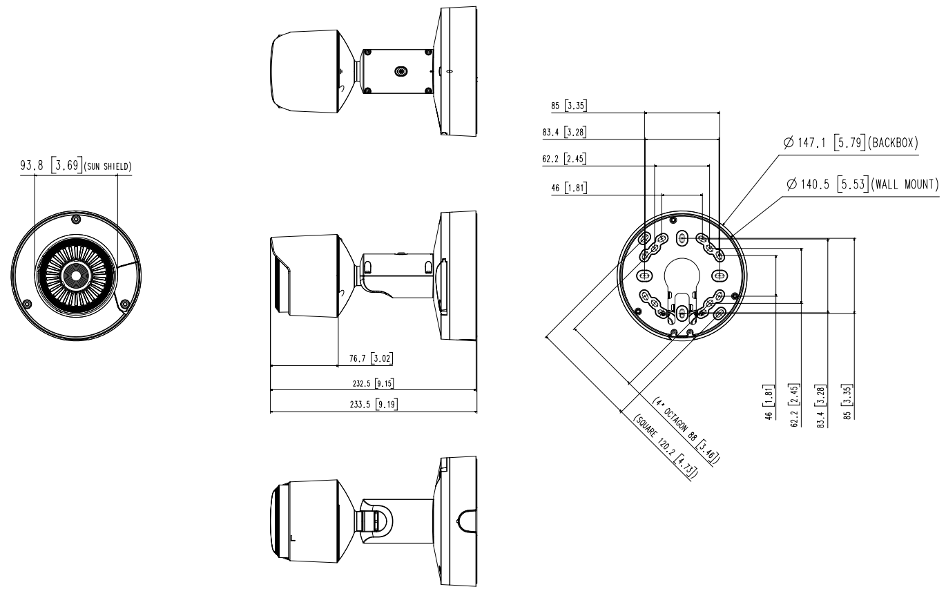
図解

仕様
| ビデオ | ||
|---|---|---|
| イメージングデバイス | タイプ | 非冷却マイクロボロメータ(384×288) |
| 解像度 | 768×576、384×288 | |
| 最大フレームレート | H.265/H.264 | 8 fps |
| MJPEG | 8 fps | |
| スペクトル範囲 | 8~14㎛ | |
| ネットD | ≤30mK | |
| ピクセルサイズ | 17㎛ | |
| ビデオ出力 | USB : マイクロUSBタイプB | |
| レンズ | ||
| 焦点距離(mm) | 4.4 | |
| 最大口径比(F値) | ワイド | 1 |
| 視野角 | 水平 | 90° |
| 垂直 | 65° | |
| 対角線 | 119° | |
| iFoV | 3.9mRad | |
| 最小被写体距離 | 0.6メートル(1.97フィート) | |
| フォーカスコントロール | 修理済み | |
| パン/チルト/回転 | ||
| パン/チルト/回転範囲 | パン | 0°~350° |
| チルト | 0°~90° | |
| 回転 | 0°~350° | |
| 運用 | ||
| モーション検出 | 量 | 8個 |
| 形 | 8ポイントの多角形ゾーン | |
| プライバシーマスキング | 量 | 6個 |
| 形 | 長方形のゾーン | |
| カラー / オプション | グレー、ブラック、ホワイト | |
| ビデオの回転 | 反転、ミラー、廊下ビュー(90°/270°) | |
| シリアルインターフェース | RS-485 | |
| アラームインターフェース | 入退出 | 2つの設定可能なI/Oポート |
| アラームトリガー | 分析、ネットワーク切断、アラーム入力、タイムスケジュール、MQTTサブスクリプション | |
| アラームトリガーが発生したときのアラームイベント | ファイルアップロード(画像):メール/FTP、通知:メール、録画:イベントトリガー時のSD/SDHC/SDXCまたはNAS録画、アラーム出力、ハンドオーバー:PTZプリセット、MQTT:パブリケーション | |
| オーディオ入力 | 選択可能(マイク入力/ライン入力) | |
| オーディオ出力 | ラインアウト | |
| カラーパレット | ホワイトホット、ブラックホット、レインボー、レインボー2、セピア、レッド、アイアン、カスタム | |
| 分析 | ||
| 分類されたオブジェクトの種類 | 人、車両 | |
| サムネイル | ベストショット | |
| 分析イベント | AIエンジンベース | 物体検知、仮想線(横断/方向)、仮想領域(徘徊/侵入/進入/退出) |
| ノーマル | 動体検知、改ざん検知、音声検知、音の分類、衝撃検知、仮想領域(出現/消失) | |
| 放射測定 | ||
| 温度検出範囲 | -40℃~550℃ | |
| 温度精度 | ±2°C(≤150°C)、±15%(>150°C) | |
| 温度検出ROIゾーン | 量 | 10個 |
| 形状 / オプション | 多角形 | |
| ハイブリッドパレット | サポート | |
| スポット温度測定 | サポート | |
| ROI状態監視 | 上、下、増加、減少 | |
| ネットワーク | ||
| イーサネット | 金属シールドRJ-45(10/100/1000BASE-T) | |
| ビデオ圧縮 | H.265/H.264: メイン/ベースライン/ハイ、MJPEG | |
| オーディオ圧縮 | G.711 u-law / G.726 選択可能、G.726(ADPCM) 8kHz、G.711 8kHz、G.726: 16kbps、24kbps、32kbps、40kbps、AAC-LC: 16kHz で 48kbps | |
| スマートコーデック | マニュアル、WiseStreamⅡ、WiseStreamⅢ | |
| ビットレート制御 | H.265/H.264: CBR または VBR、MJPEG: VBR | |
| ストリーミング | ユニキャスト | 最大20ユーザー |
| マルチキャスト | サポート | |
| 複数のストリーミング | 最大10個のプロファイル | |
| プロトコル | IPv4、IPv6、TCP/IP、UDP/IP、RTP(UDP)、RTP(TCP)、RTCP、RTSP、NTP、HTTP、HTTPS、SSL/TLS、DHCP、FTP、SMTP、ICMP、IGMP、SNMPv1/v2c/v3(MIB-2)、ARP、DNS、DDNS、QoS、UPnP、Bonjour、LLDP、CDP、SRTP(TCP、UDPユニキャスト)、MQTT | |
| アプリケーションプログラミングインターフェース | ONVIF | S、G、T、M |
| その他 | SUNAPI(HTTP API)、ハンファビジョンオープンプラットフォーム | |
| 直接クラウド接続 | サポート | |
| 安全 | ||
| OS / ファームウェア保護 | 暗号化されたファームウェア、セキュアブート、署名されたファームウェア | |
| ユーザー認証 | ダイジェスト認証、ブルートフォース攻撃の防止 | |
| ネットワーク認証 | IEEE 802.1X(EAP-TLS、EAP-LEAP、EAP-PEAP、MSCHAPv2) | |
| セキュリティ通信 | HTTPS、WSS(WebSocketセキュア)、SRTP | |
| アクセス制御 | IPベースのアクセス制御 | |
| データ保護 | 暗号化資格情報 | |
| 監査 | アクセス / システム / イベントログ管理 | |
| デバイスID | デバイス証明書(Hanwha Vision Root CA) | |
| セキュリティ保管 | TPM(トラステッドプラットフォームモジュール)、SDカードパーティション暗号化(AES-256) | |
| セキュリティ証明書 | FIPS 140-2 レベル2 準拠の TPM 2.0 | |
| 一般 | ||
| メモリ | RAM | 2GB |
| フラッシュ | 512MB | |
| エッジストレージ | マイクロSD/SDHC/SDXC | 最大 1TB x 1スロット |
| 環境と電気 | ||
| 動作条件 | 温度 | -40℃~+60℃(-40°F~+140°F) |
| 湿度 | 0~95% RH(結露なし) | |
| 保管条件 | 温度 | -50℃~+60℃(-58℉~+140℉) |
| 湿度 | 0~95% RH(結露なし) | |
| 入力電圧 | PoE(IEEE802.3af、クラス3)、12VDC | |
| 消費電力 | PoE | 最大10.8W、標準9W |
| 12VDC | 最大9.4W、標準7.7W | |
| 機械 | ||
| 色 | 白 | |
| 材料 | アルミニウム、PC(ポリカーボネート) | |
| RALコード | RAL9003 | |
| 寸法 | ø93.8×233.5mm(ø3.69×9.19″) | |
| 重量 | 1700g(3.75ポンド) | |
| 適合コンジット穴 | オプションのアダプタを介してコンジットの互換性をサポート | |
| 互換性のあるギャングボックス | シングル、ダブル、4インチ八角形、正方形 | |
| 認証と規格 | ||
| EMC | FCC 47 CFR 15 サブパート B クラス A、CE/UKCA – EN55032 クラス A、EN 50130-4、EN 61000-3-2、EN 61000-3-3、VCCI CISPR 32 クラス A、RCM AS-NZS CISPR 32 クラス A、KS C 9832 クラス A、KS C 9835 | |
| 安全性 | UL 62368-1、CAN/CSA C22.2 NO. 62368-1 | |
| 環境 | IEC/EN 63000、IEC 60529 IP66、IEC 62262 IK10、NEMA 250 タイプ 4X | |










